罗永浩所持锤子科技 714 万元股权被冻结罗永浩锤子科技
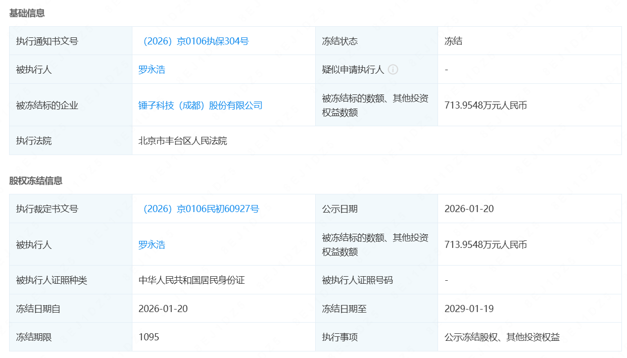
罗永浩名下新增一条股权冻结信息,冻结股权标的企业为锤子科技(成都)股份有限公司,冻结股权数额约 714 万元,冻结期限自 2026 年 1 月 20 日至 2029 年 1 月 19 日,执行法院为北京市丰台区人民法院。#罗永浩所持714万股权被冻结# #锤子科技714万股权被冻结#
IT之家,2026-01-23 10:30:13
1 月 23 日消息,企查查显示,1 月 20 日,罗永浩名下新增一条股权冻结信息,冻结股权标的企业为锤子科技(成都)股份有限公司,冻结股权数额约 714 万元,冻结期限自 2026 年 1 月 20 日至 2029 年 1 月 19 日,执行法院为北京市丰台区人民法院。
锤子科技(成都)股份有限公司成立于 2012 年 5 月,法定代表人管志良,注册资本约 3150 万元,由罗永浩任董事长并持股 22.67%。

据此前报道,在 2025 年底的“十字路口之 2025 年度科技创新分享大会”活动中,罗永浩谈到了自己创业失败还钱的“真还传”,表示“真还传”是他命里最大的福报。

2024 年 8 月,罗永浩透露“真还传”当时一共还了 8.24 亿,远远超出之前对外公布过的“欠债 6 个多亿”,主要的原因是还债过程中,因为各种官司纠纷带来的额外赔偿,以及滞纳导致的各种罚款等等,使得债务总数多了近 1 个亿。另外,2022 年的年底出现的一些情况,也产生了新的债务。
此外,罗永浩公布了“真还传”第二季,表示锤子科技当年融资时,获得过国有资本的 3 个亿投资和 3 个亿借款,共计 6 个亿,当时还剩 5 个多亿。